Sealing the Future: How SDC and Our Customer Patented a Smarter Way to Apply Paper-Based Closures

When most people think about packaging, they might imagine boxes and packaged food in stores. But at SDC, we get excited about how to put it together—especially when it involves high-speed packaging innovation, collaboration, and developing designs that change the way paper-based end closures are applied to composite containers.

Working side by side with one of our key customers, we helped develop a novel system that not only improves the speed and precision of a closure application, but also supports more sustainable packaging technology by enabling the use of eco-friendly packaging components like paper-based ends. The result? A jointly held patent and a new way of thinking about how composite containers are sealed on the production line.

Let’s take a look at how it works and why it’s so important.

The Packaging Challenge: Precision Meets Speed

In high-volume packaging environments, sealing containers isn’t just about slapping on a lid. It’s a precise dance of alignment, pressure, and speed—especially when working with paper-based closures, which can be more delicate and less forgiving than traditional metal or plastic ends.

After realizing the need to make these containers more easily recyclable for consumers, our customer had a challenge: how to reliably and rapidly apply paper-based end closures to composite containers (think: tubes or cardboard canisters) without damaging the materials or slowing down production.

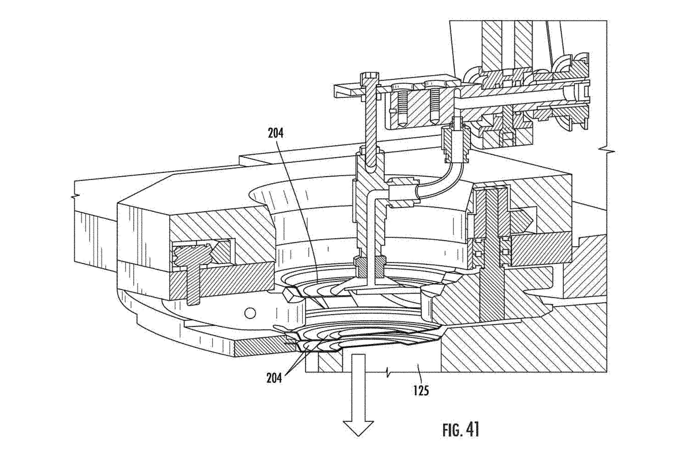
Enter the collaborative solution: a patented automated closure system featuring an expanding collet system that applies these closures with just the right force, at high speeds, and with consistent results.

So, What Is an Expanding Collet (and Why Should You Care)?

At the heart of this automated closure system is something called an expanding collet—a mechanical marvel that may be small in size but is huge in impact.

Imagine a flower with petals that can bloom outward. The collet works similarly: it has multiple pivoting segments that start in a closed position and then pivot outward simultaneously. These segments are shaped to interact perfectly with the container and the paper closure during the sealing process.

Here’s what makes it special:

  • Each collet segment has a lip that catches the rim of the container.
  • Just below the lip is an angled tip, designed to press part of the closure (called the countersink) against the inside wall of the container.
  • As the container moves into position, it engages with the collet.
  • This contact causes the segments to pivot radially outward, applying just the right amount of pressure at the exact moment it’s needed.
  • The result? The paper-based closure is pressed snugly and securely into place—without crushing, tearing, or misaligning it. This makes it a vital component of packaging automation solutions where speed and precision are essential.

A Closer Look at the Magic

What really makes this system shine is the synchronization of movement and force. Every pivot of the collet segments is triggered by the movement of the container itself—no extra motors or complex sensors required. It’s a beautifully efficient mechanism that uses smart geometry to do the heavy lifting.

Even better, this method ensures that the closure is pressed evenly around the rim and against the inside wall of the container. That means fewer jams, fewer defects, and a more secure seal overall.

For manufacturers, that translates to less downtime, less waste, and higher throughput. When you’re producing thousands of units per hour, those savings stack up fast. It’s high-speed packaging done right.

Why It Matters: Sustainability Meets Efficiency

Why It Matters: Sustainability Meets Efficiency graphic with highlights from blog

This innovation isn’t just about cool mechanics—it’s also a big step toward more sustainable packaging.

Paper-based closures offer a lightweight, eco-friendly packaging alternative to plastic or metal ends. But they also demand more careful handling. This patented system enables their high-speed application without compromising integrity, making it easier for brands to switch to greener materials without sacrificing performance.

By enabling the reliable use of paper-based end caps, this system supports the growing push for environmentally responsible, sustainable packaging—and helps our customer stay ahead of industry trends and regulatory changes.

Partnership in Innovation

This patent represents more than just an engineering solution—it’s a perfect example of what happens when SDC collaborates closely with our customers.

Our teams worked together from concept to prototype to production, iterating on mechanical designs, fine-tuning geometries, and testing materials until we found a solution that worked flawlessly. Along the way, we didn’t just solve a problem— we created something that could reshape an entire segment of packaging automation solutions.

It’s also worth noting that this patent reflects a shared commitment to intellectual property, innovation, and long-term value. By working together to develop and protect this design, both SDC and our customer are invested in its success.

What’s Next?

At SDC, we believe the future of manufacturing is built on precision, speed, and sustainability—and this patented system checks all three boxes.

Whether you’re packaging food, personal care, or any product that demands a secure seal and a clean finish, systems like this one are opening new possibilities. And we’re just getting started.

Want to learn more about how custom packaging automation solutions can power your production goals? Let’s connect. Because when innovation clicks into place—just like the perfect paper-based closure—it’s a beautiful thing.

Reference patent US20220258887A1

FAQ’s (Frequently Asked Questions)

What does the patented system do?

The patented system enables the high-speed application of paper-based end closures to composite containers with precision, helping manufacturers increase efficiency while supporting sustainable packaging goals.

How does the expanding collet system work?

The expanding collet features pivoting segments that engage the rim of a container and apply even pressure to secure the closure in place. Its smart, motor-free design makes it ideal for automated closure systems in high-speed packaging environments.

Why is this system important for sustainable packaging?

By enabling reliable application of eco-friendly paper-based closures, the system helps manufacturers reduce reliance on plastic or metal, supporting the transition to sustainable packaging technology without sacrificing speed or performance.

What types of containers is this system designed for?

The system is specifically engineered for composite containers like cardboard tubes or fiber-based canisters, which are commonly used in food, personal care, and other consumer goods sectors.

Who developed this technology?

This innovation was co-developed by SDC Senior Mechanical Designer, James Peoples, and one of our customers through a close partnership from concept through production resulting in a jointly held patent that advances the future of packaging automation solutions.